Хомут для низких температур с термоизоляцией KFS, Fischer
- Предназначен для крепления трубопроводов холодоснабжения, систем кондиционирования и линий подачи холодной воды.
- Диаметры зажима от 273 до 609 мм.
- Специально разработан для низких температур — сохраняет эластичность и герметичность прокладки даже при –50 °C.
- Интегрированная термоизоляция — исключает «мостики холода» и конденсат, что критично для энергоэффективности.
- Высокая коррозионная стойкость — металлическая часть из оцинкованной стали подходит для влажных и агрессивных сред.
- Универсальность и простота монтажа — совместим с большинством стандартных подвесных систем и теплоизоляционных материалов.
- Возможность крепления как по центру, так и через отверстия для болтов расширяет варианты установки.
Хомут KFS с теплоизоляцией для низких температур, Fischer предназначен для крепления трубопроводов холодоснабжения, систем кондиционирования и линий подачи холодной воды. Материал изоляции исключает образование мостиков холода и обеспечивает сохранение проектных теплотехнических параметров системы. Применяется только в сухих помещениях. разработан специально для крепления изолированных трубопроводов систем холодоснабжения и кондиционирования с наружным диаметром 273–609 мм. Толщина изоляционного блока составляет 60 мм. Он выполнен из пенополиуретана с плотной структурой, которая предотвращает проникновение влаги и образование конденсата. Металлические элементы хомута изготовлены из стали DD11 с гальваническим покрытием, защищающим от коррозии при эксплуатации в помещениях. Конструкция предусматривает два боковых болта, позволяющих точно подогнать хомут по диаметру трубы. Дополнительно предусмотрена приклеенная резиновая прокладка, облегчающая монтаж. Хомут может устанавливаться на одну или две резьбовые шпильки, что расширяет варианты крепления и обеспечивает жесткую фиксацию.
Преимущества
- Пенополиуретан препятствует проникновению влаги и сохраняет свойства при длительной эксплуатации.
- Материал устойчив к старению, характеристики сохраняются при температурах от –50 до +105 °C.
- Низкая теплопроводность 0,045 Вт/(м·К) снижает теплопотери и повышает энергоэффективность систем.
- Оптимальная плотность 250 кг/м³ обеспечивает жёсткость конструкции без утяжеления.
- Огнестойкость класс B2 по DIN 4102 соответствует требованиям пожарной безопасности.
- Высокое диффузионное сопротивление >1000 мкм защищает от проникновения влаги и образования конденсата.
- Прочность на сжатие 3,96 МПа при +23 °C гарантирует стабильность даже под нагрузкой массивных труб.
- Оптимальная форма и боковое расположение болтов позволяют точно подогнать хомут по диаметру и выдерживать значительные нагрузки.
- Специальная приклеенная накладка сокращает время монтажа за счёт упрощённой регулировки.
Сферы применения
- Холодильные и морозильные установки — крепление труб в холодильных камерах, складах, логистических центрах.
- Системы кондиционирования и вентиляции — монтаж изолированных воздуховодов и хладопроводов.
- Пищевая и фармацевтическая промышленность — объекты с требованиями к гигиене и температурному контролю.
- Энергетика и ЖКХ — системы централизованного холодоснабжения, теплотрассы с участками низкотемпературного режима.
- Лаборатории и медицинские учреждения — оборудование, работающее с криогенными средами или требующее стабильного температурного режима.
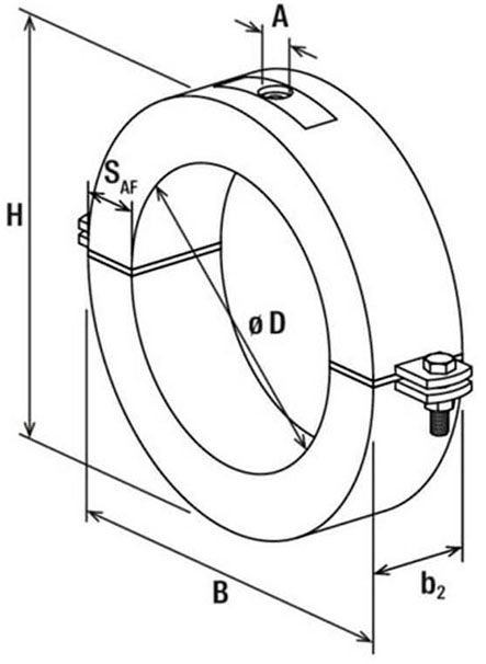
Размеры
| Артикул | Модель | Резьба A | Размер, дюймы | Толщина изоляции S AF, мм | Ширина B, мм | Высота H, мм | Ширина изоляционного материала b2, мм | Диапазон зажима D, мм | Макс. рекомендуемая статическая нагрузка (центральное растяжение), kN |
| 567798 | KFS 273 | М16 | 10" | 60 | 493 | 393 | 100 | 273 | 7.0 |
| 567799 | KFS 323 | М20 | 12" | 60 | 544 | 444 | 100 | 324 | 11.0 |
| 567800 | KFS 355 | М20 | 14" | 60 | 576 | 476 | 100 | 356 | 12.0 |
| 567801 | KFS 368 | М20 | - | 60 | 58 | 488 | 120 | 368 | 13.0 |
| 567802 | KFS 406 | М24 | 16" | 60 | 646 | 526 | 120 | 406 | 16.50 |
| 567803 | KFS 457 | М24 | 18" | 60 | 697 | 577 | 120 | 457 | 19.00 |
| 567804 | KFS 508 | М24 | 20" | 60 | 748 | 628 | 120 | 508 | 21.00 |
| 567805 | KFS 609 | М24 | 24" | 60 | 848 | 729 | 140 | 609 | 28.50 |
Монтаж
Вариант 1 (Установка хомута KFS на одну резьбовую шпильку).
Вариант 2 (Установка хомута KFS на две шпильки).

Характеристики
-
Бренд
-
Тип хомутаСантехнический
-
Единицы измеренияшт
-
Артикул42538
-
МатериалПенополиуретан